山東風途物聯(lián)網科技有限公司
聯(lián)系人:薛經理
聯(lián)系電話:
客服Q Q:1379335561
公司地址:山東省濰坊市高新區(qū)光電路155號光電產業(yè)加速器(一期)

PRODUCT
聯(lián)系人:薛經理
聯(lián)系電話:
客服Q Q:1379335561
公司地址:山東省濰坊市高新區(qū)光電路155號光電產業(yè)加速器(一期)

產品型號:FS485
產品價格:600元
產品品牌:風途
一、機械式風速風向傳感器技術指標
機械式風速風向傳感器又稱風速風向一體式傳感器,機械式風速風向傳感器可廣泛應用于氣象、海洋、環(huán)境、機場、港口、實驗室、工農業(yè)、交通運輸等領域。
供電:DC12V
工作環(huán)境:-40~70℃,濕度≤100%無凝露
通信接口:RS485
工作電流:55mA DC12V
啟動風速:0.5m/s
最短數據間隔:0.5S
殼體材料:高分子工程塑料
二、機械式風速風向傳感器參數
| 參數 | 測量范圍 | 分辨率 | 精度 |
| 風速 | 0-60m/s | 0.01m/s | ±0.2m/s |
| 風向 | 0-360度 | 0.1度 | ±1度 |
| 平均風速 | 0-60m/s | 0.01m/s | ±0.2m/s |
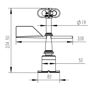
三、機械式風速風向傳感器外觀尺寸

四、機械式風速風向傳感器安裝要求

安裝時底座箭頭N的方向需指向正北方向(如上圖所示)